發布時間:2024-04-08
來源:上海弘泱機械科技有限公司
近年來,由于立式液下泵的大量生產,小型污水泵房多已設計成地上式的。該種液下泵有多種型號。以北京的一種產品為例,該種泵最長的泵軸管約為3.5米,吸、壓水管口徑為65mm,配帶3~7.5kW的電動機,機座尺寸為500x700mm。
對于大型污水泵房,目前尚無該類液下泵可利用。而且實際上該類液下泵也不適于制造大流的。因此,大型污水泵房的設計須另尋途徑。
今提出大型污水泵房地上式設計的一個方案。此方案仍然利用了立式液下泵,但只是部分地利用。同時,此方案仍然利用了底閥,但其構造不同于普通底閥。圖1示出了此方案泵房的集水池部分。由圖可見,池內安裝了地面泵房污水泵的吸水管(每臺泵一-根)。其底端用拍門(成品,口徑350mm)和混凝兒(及鋼筋)材料筑造了一個底閥。此外,在除渣平臺上安裝了一臺立式液下泵(電動機在平臺上,泵在最高水位以下,吸水管伸到最低水位以下。事故出流管口商于該平臺時,電動機的安裝位置應相應提高)。山該泵的壓水管引出支管。其一分支與地面泵的收水管聯接,作為灌水管。該支管上裝置電磁閥。另一分支伸至池底,作為沖洗管。該沖洗管除用來沖起池底沉淀污泥外,還引出分支接底閥拍門部位的側壁,引污水沖洗拍門。當需要抽水時,可按污水流量的大小作不同方式的運行:當流最較小時,僅開動立式液下泵,當流最較大時,則先后開動立式液下泵和一臺或多臺地面泵。
在后一種情況下,當開動立式液下泵時,同時開啟灌水管上的電磁閥。于是該泵的出水分為兩路:一路直接排入泵房的出水井。另一路經地面泵的吸水管、泵體和壓水管排人泵房的出水井,執行灌水排氣程序。當灌水時,底閥內的拍門必有泄漏,然而該泄漏量只會占液下泵出水量的很小一部分。因此灌水仍能在很短時間內完成。當灌水完成后即可啟動地面泵,同時關閉灌水管上的電磁閥。此后,底閥內的拍門就呈開啟狀態,地面泵與液下泵共同運行。
上述啟動過程無疑可以而且很容易實行自動控制。
上述底閥中的拍門口徑比吸水管口徑大得多。因此,運行中拍門只需有很小的開啟角度即可通過設計流量,而且其水頭損失比普通底閥小。另外,該拍門不易被固體污物所梗卡。即便梗卡而致嚴重泄漏,也能實現灌水啟動,必要時可如前所述,引污水沖洗即可消除梗卡。

還可以用自來水作為備用灌水水源,以增加地面泵啟動的可靠性。
遠離城鎮和廠區的解遠泵房,往往難有自來水管引到該處。在該情況下,上述集水池中可再加設一臺液下泵作為備用灌水泵。可以看出,上述泵房在造價、施工、設備安裝、運行、管理和檢修等各方面都優于地下式污水泵房。
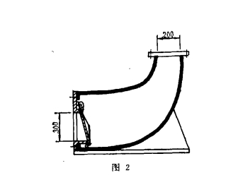
如能由工廠成批生產圖2所示的鑄鐵底閥,則對本方案泵房的設計和施工都將帶來很大的方便(如泵吸水管口徑小于該底閥出水口口徑,可另加變徑管件。
如 果由于所用水 泵允許吸上真空高度較小或其 它原 因而 不能 設計成地面 式泵房 , 也可按上述 方案 設 計成半地下 式 泵房 , 該半地 下式污水 泵房也 在 上 述各方面 優于 地 下式污水泵房 。

本文標題:地上式污水泵房設計方案
責任編輯:弘泱機械科技編輯部
本文鏈接:http://mcnds.com/xwzx/hydt/7352.html 轉載請注明出處